MBFAQ.RU MBFAQ.RU

ВНИМАНИЕ! FAQ в процессе наполнения. Старая версия находится по ссылке

Несложный ремонт К&КЕ Jetronic

Чтобы наладить захандрившую систему впрыска топлива, порой не нужно дорогого инструмента и оборудования.

В моей практике работы на сервисе я не раз сталкивался с тем, что отказ системы впрыска топлива происходил из-за сущей ерунды – пустяковых, не связанных с “высокими технологиями” причин. Владельцы “инжекторных” машин, иногда даже технически образованные и рукастые, обычно пасуют перед впрыском, боясь что-нибудь испортить своим вмешательством. А ведь разгадка порой лежит на поверхности, и ремонт занимает пару минут…

Приволокли мне как-то на галстуке “Мерседес-190Е” с заглохшим мотором. Со слов хозяина “все было отлично и вдруг при разгоне движок как отрезало…”. То, что устранение дефекта не потребует “мозгового штурма”, я понял, еще не открывая капот: на этом десятилетнем “мерине” механический “КЕ-Джетроник” – простой, как сибирский валенок. Внезапно сломаться там нечему, а стало быть, максимум через полчаса клиент уедет на исправной машине.

/>

Изображение

Чтобы вынуть плунжер дозатора, придется отвернуть центральную гайку.

Вначале, как водится, выясним причину: либо нечему гореть, либо нечем поджечь. Так… искра есть – бьет как из пушки. Теперь проверим топливо. Снимаю колодку со штекеров реле бензонасоса и замыкаю перемычкой ее гнезда “30” и “87”, подав 12 вольт напрямую к насосу. Слегка отворачиваю штуцер подающей магистрали, и топливо с шипением брызжет в поднесенную к гидравлическому разъему тряпку. Уже по ощущению, без манометра (как-никак опыт – пятнадцать лет!), определяю, что атмосфер шесть насос развивает – значит, пойдем дальше, по цепочке.

Отсоединяю магистраль форсунки первого цилиндра и, сняв воздухозаборник, легонько нажимаю на заслонку расходомера воздуха (см. рис). Ага! Ее ход затруднен, да и бензин в магистраль не поступает. Отворачиваю три винта крепления дозатора-распределителя и снимаю его с корпуса расходомера. Так и есть – плунжер заклинило. Накопления смол и мельчайшей, прошедшей через фильтры, пыли, откладываясь в зазоре сопряженных деталей, просто заблокировали узел.

С усилием вынимаю плунжер и промываю его, а заодно и отверстие дозатора струей жидкости WD-40 – так, чтобы смытая грязь вытекала наружу. Затем ставлю плунжер на место, закрепляю дозатор на корпусе расходомера, проверяю легкость перемещения рычага заслонки и подачу топлива в магистраль форсунки. Собрав все как было, желаю клиенту счастливого пути. Час путешествия на веревке ради пятнадцатиминутного ремонта его, очевидно, обескуражил, но тем не менее уезжает он довольный…

/>

Изображение

Дозатор-распределитель системы “КЕ-Джетроник” с расходомером воздуха: 1 – электрогидравлический регулятор давления топлива; 2 – корпус дозатора; 3 – трубки подвода топлива к форсункам; 4 – клапаны; 5 – напорная заслонка расходомера; 6 – рычаг заслонки; 7 – плунжер.


Бывают в механическом впрыске “мерседесов”, “ауди”, “фордов” и “фольксвагенов” и другие, столь же легкоустраняемые неполадки, связанные с длительной эксплуатацией. Например, проходя инструментальный контроль на 8–10-летней машине с системой “КЕ-Джетроник”, вдруг обнаруживают чудовищную (до 10%!) концентрацию СО в выхлопных газах. Но это только на средних оборотах, на холостых все замечательно – 0,5%. Не понимая причины неисправности, большинство “мастеров” действуют по привычному алгоритму – крутят винт регулировки качества смеси, ограничивающий ход рычага расходомера. При этом содержание СО практически не падает и черный дым по-прежнему валит из трубы при прогазовках.

А виноват-то электрогидравлический регулятор давления топлива, привинченный сбоку к дозатору-распределителю. Со временем его энергопоглощающая пластинка теряет упругость и заводская тарировка нарушается. На крупном фирменном сервисе если и определят неисправность, то, скорее всего, предложат выписать или заказать новый регулятор за 200– 300 долларов. А вылечить родной проще простого, если, конечно, знать, как.

Отключаем бензонасос и, пустив на несколько секунд двигатель, сбрасываем давление в подводящей магистрали. Снимаем регулятор с дозатора и отворачиваем пробку на его привалочной стенке – под ней регулировочный винт с внутренним шестигранником (см. фото). Как правило, его требуется подкрутить не более чем на 1/6 оборота, однако, возможно, регулировку придется повторить 2–3 раза, проверяя содержание СО при работе мотора. С восстановленной чистотой выхлопа вернется в норму и расход топлива – уже привыкший к прожорливости машины владелец вдруг обнаружит, что после поездки на дачу она не просится, как обычно, на заправку – стрелка указателя все маячит и маячит где-то в середине шкалы…

А вот еще одна хитрость механического впрыска. На “ауди” и БМВ, в отличие от “мерседесов”, применяют расходомеры не с падающим, а восходящим потоком. По этой причине работа двигателя без крышки воздухозаборника невозможна – из-за отсутствия разрежения заслонка останется неподвижной, а значит и дозатор не откроет путь топливу. Более того, малейшая неплотность впускного тракта резко обедняет смесь, вплоть до полной остановки мотора. Помню случаи, когда ремонт занимал полминуты – этого было достаточно, чтобы плотно надеть патрубок и затянуть хомут.

И еще. Многие забывают, что дозатор-распределитель работает только при определенном перепаде давления на входе и выходе, поэтому такой незаметный снаружи дефект, как расслоение старого шланга слива топлива в бак (“обратки”) приводит к остановке двигателя. Внутренний слой резины перекрывает просвет шланга, давление на выходе дозатора повышается, и плунжер запирает проход топлива к форсункам. Бывает, что горе-механик бьется часами: насос работает, давление в норме, рычаг расходомера ходит “как по маслу”, а форсунки сухие… Спросишь его, мол, ты в обратку-то пробовал дунуть – может, забита она? Он не понимает: при чем тут это?..

Да и современные системы электронного впрыска порой удается наладить за пару минут безо всяких запчастей – даже после того, как с ними безрезультатно мучились опытные профессионалы. Звонит мне как-то знакомый из конкурирующей фирмы: помоги, мол, завести машину, а то перед клиентом стыдно. Как выяснилось, мотор БМВ-520 с системой “Мотроник” целый месяц пробыл в капремонте, куда машина спокойно приехала своим ходом и вот теперь его третий день пытаются возбудить консилиумы слесарей.

Придирчиво осматриваю все, что было разобрано перед снятием агрегата. Мотор чистенький, электрика смонтирована безупречно, датчики исправны, насос работает, искра есть… И тут меня осенило – ведь регулятор давления на топливной рампе весь месяц лежал где-нибудь на полке совсем сухой – запросто мог закиснуть в закрытом положении! Чем бы его расшевелить? “А ну, дайте-ка сюда установку для промывки форсунок!” Подключаю аппарат к рампе, накручиваю давление аж 9 атмосфер – почти втрое больше, чем дает штатный насос, и командую: “Заводи!” Мотор мгновенно оживает и работает себе как ни в чем не бывало. Вот так-то! Машину надо изучать, а не только гайки в ней крутить!

Примитивная самодиагностика KE

Речь пойдет о самодиагностике мозгов впрыска на машинах с KE-Jetronic на 102-ых двигателях.

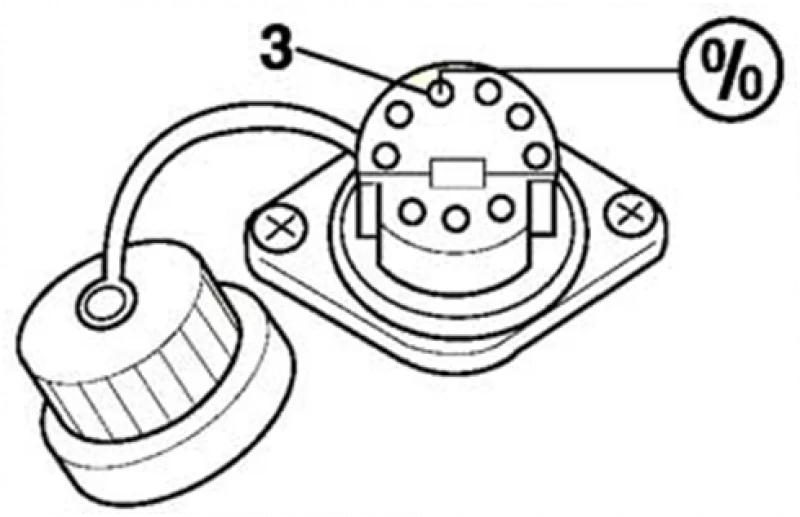
Изображение
Круглая 9-ти пиновая диагностическая колодка в районе коммутатора, позволяет увидеть:
1 – сигнал TD (обороты двигателя)
2 – масса
3 – сервисный выход с БУ впрыска (самодиагностика)
4 — управление зарядом/разрядом катушки зажигания (клемма 16)
5 – питание катушки зажигания и коммутатора (клемма 15)
6 – напряжение АКБ (клемма 30)
(7,8,9) – датчик ВМТ, используется только для диагностического оборудования

Изображение

Самодиагностика
БУ во время работы отслеживает сигналы некоторых датчиков и при выходе сигналов за пределы допусков, либо несоответствии одних сигналов другим выводит код ошибки через выход самодиагностики. Код в % виден только во время работы мотора и не сохраняется (в версии КЕ 3.5 и выше сохраняется, читайте ФАК)

Прибор
Посмотреть код можно прибором умеющим показывать скважность импульса в %, либо можно использовать приборы, которые умеют мерить угол замкнутого состояния контактов (УЗСК) в классической системе зажигания. 90град соответствуют 100%, 45 град. 50%. Надеюсь, закономерность понятна…. Правда данные приборы немного врут (на 1-5 град. В зависимости от показаний и производителя), но это все можно отловить…
Сергей (SP с www.auto.ru) предоставил схему прибора на основе стрелочного вольтметра, который является наиболее удобным в пользовании — смотри в конце статьи...

Итак, подсоединяем прибор согласно инструкции изготовителя (питание) и сигнальный выход прибора подключаем к 3-ему выводу колодки диагностики. Далее я опишу что происходит у меня на исправной машине:
При включении зажигания индицируется 70%
При старте двигателя и его первоначальной работе 50%
При прогреве лямбда-зонда начинается плавание показаний 45-55%
При отключении датчика температуры появляется 30%
Ну а далее сами разберетесь….

Коды

0%

10% — неисправность концевика ДЗ в положении “ДЗ закрыта”. Код возникает при отпущенной педали газа (ДЗ закрыта). Выдается только при исправности и замкнутости концевика ПХХ – это особенность, что при закрытой ДЗ блок имеет два сигнала – один от сборки на оси ДЗ, а другой от микрика ПХХ, который мы видим при снятии сборки воздушного фильтра.
Итак при включении зажигания индицируется код 10%, а при небольшом нажатии на газ (размыкание концевика ПХХ), код пропадает.

20% — неисправность концевика ДЗ в положении “полная нагрузка”. Очевидно что если концевик замкнут вместе с замкнутостью концевика ПХХ – появится код… Аналогично коду 10%

30% — неисправность датчика температуры (проводка или датчик). Смоделировать легко – просто отключаем разъем и видим код.

40% — неисправность потенциометра расходомера. Возникает при обрыве/отключении потенциометра, либо выходе его сигнала за допустимые пределы …


50% — все сигналы в норме. Этот код высвечивается чаще всего… Если на машине установлен лямбда-зонд и после заводки машины он еще не прогрелся, то вы увидите 50%, как только лямбда нагреется и начнется регулирование смеси по ее сигналам сигнал самодиагностики будет колебаться в пределах 50 ± 5% (при правильно отрегулированной смеси), либо около другого значения, например 42±5% — когда смесь механически богата и БУ беднит ее через ЭГРД (приводит к стехиометрии)

60%  датчик скорости автомобиля. Мозги могут определить обрыв датчика только при движении. Опыт:
датчик отключен (приборка снята)
заводим, двигатель работает, газуем – система не определяет обрыв,
далее едем – если движемся спокойно (плавно), система обрыв не определяет, но стоит резко дать газу (обороты растут медленнее чем расход воздуха) как появляется код и держится до рестарта двигателя. Правда, если начать ускорятся плавно но до больших оборотов (~ 4000) код так же появится… В общем код появляется либо начиная с какой-то величины расхода воздуха, либо через анализ связи обороты-расход…
Что интересно, пока мозги не определили неисправность этого датчика, при отпускании педали газа, чувствуется небольшое ускорение… видимо как-то хитро происходит управление РХХ, пока не понял… как только код появился ускорение при отпускании газа пропадает, т.е. машина ведет себя как обычно

70% — нет сигнала TD от системы зажигания. Сигнал TD это сигнал “обороты двигателя”, который широко используется в системе -БУ впрыска, реле бензонасоса, тахометр(если установлен). Если двигатель не крутится этот код будет высвечиваться. Т.о., при включении зажигания, если нет ошибок с более высоким приоритетом (или самодиагностика их еще не обнаружила) будет высвечивать код 70% до того момента, пока двигатиель не прокручивается – это нормально

80%  не помню

90% — сработала предохранительная отсечка топлива. Возникает при достижении двигателем максимальных оборотов, либо при ПХХ, причем при ПХХ код выдается только если обороты были выше 3000, если ПХХ включился на более низких оборотах индицируется код 50%, но форсунки по прежнему не подают топливо. Только когда начнется лямбда-регулирование (показания начнут плавать) мы увидим, что режим ПХХ закончился…

100%


Немного о лямбда-регулировании :

После набора двигателем температуры 55-60 градусов снимается обогащение прогерва и включается обратная связь по сигналу ЛЗ.

БУ корректирует смесь по сигналу лямбда-зонда только в некотором диапазоне, например по току ЭГРД – от –10мА до +10мА. При этом, через колодку диагностики Вы будете видеть коррекцию смеси по лямбдазонду в % от 20% до 80% (это просто удобней, не нужно подключаться к ЭГРД и т.п.)

при предельном обогащении смеси по сигналу лямбды вы увидите 80% (+10 mA), при предельном обеднении 20% (-10 mA), нормальным считается, когда на ХХ горячего двигателя ток плавает около 0мА (45-55%), а на оборотах 3000 ток отличается незначительно (изменение не более 10% по прибору)

Регулировка CO/CH без газоанализатора.
Двигатель прогрет до рабочей температуры (все как по книге), подключаем прибор к ноге 3 колодки диагностики и массе двигателя (нога 2 колодки).
На ХХ показания прибора должны колебаться в диапазоне 45-55%, если это не так, производим регулировку.
Пример:
показания плавают в диапазоне 65-75%, это означает что смесь механически (расходомер/дозатор/форсунки) готовится обедненная и ЭБУ по сигналу ЛЗ добавляет топлива с помощью ЭГРД, приводя смесь в норму, т.е. к стехиометрии. Поэтому нам надо механически обогатить смесь поворотом ключа по часовой стрелке, пока показания не попадут в коридор 45-55%… крутим на угол не более 45 градусов, после ждем, можно погазовать.
Аналогично с режимом обогащения ...
Эта регулировка актуальна только в случае отсутствия подсосов в выхлопной системе на участке до ЛЗ (комментарий SP).
После регулировки смеси на ХХ необходимо проверить показания под нагрузкой (лучше всего в движении, но можно и на месте дав 3000 оборотов) — показания не должны сильно уплыть, допускается изменение до ± 10%, в случае более сильного изменения показаний необходима диагностика топливной системы специалистами.

Регулировка СО по ЛЗ с помощью ВОЛЬТМЕТРА
Когда нет под рукой прибора измеряющего скважность, можно проводить измерения с помощью вольтметра. Сразу скажу что если по ошибке включить прибор в ражиме АМПЕРМЕТРА, то мозгам придет конец!
Это оценочный способ, но тем не менее действенен. Двигатель прогреет до рабочей температуры, работает на ХХ, подключаем вольтметр к ногам 2 и 3 колодки диагностики, отсоединяем сигнальный провод ЛЗ и засекаем показания вольтметра — оно будет примерно равно Uлз=(Uакб-1)/2, например на АКБ у нас 14В, тогда вольтметр покажет (14-1)/2~6.5В далее восстанавливаем сигнальный провод ЛЗ и крутим регулировку СО пока показания вольтметра не будут колебаться около Uлз.
В принципе, вольтметр покажет и текущие ошибки контроллера, например при отключенном датчике температуры прибор покаджет ~ (Uакб-1)*(100-30)/100 при Uакб=14В прибор покажет ~ 9.1В (ошибка 30%).


Много ума не надо чтобы составить табличку соответствия процентов напряжению на колодке при заданном напряжнии аккумулятора.


Определение скважности, путем замера напряжения в колодке.
Формула:
Скважность = 100*(1-U/(Uакб-1.0))
где  U — напряжение измеренное на колодке,
Uакб — напряжение АКБ (можно измерить между выводами 2 и 6 колодки диагностики)
1.0 — Падение напряжение до ЭБУ. т.е. может меняться от 0 до 1В, тут все индивидуально, для упрошения можно вообще выкинуть из расчета (принять за 0)

Лямбдатестер от SP

Изображение

Идея измерения очень проста. Если на вольтметр со шкалой 3В подать 0В, он покажет 0В (или 0%). Если на него подать 3В, он покажет 3В (или 100%). Если на него подать прямоугольный сигнал размахом 3В и скважностью 50% (то есть половину периода будет 3В и половину будет 0В), то прибор покажет 1,5В (или 50%).
Для того, чтобы показания прибора зависели только от скважности и не зависели от размаха сигнала, используется стабилитрон. На него через резистор R1 (для настройки тока стабилитрона) подается сигнал размахом 9-14В, а на нем будет всегда присутсвовать сигнал размахом 3,3В. Резистор R2 используется для того, чтобы настроить максимальное отклонение стрелки прибора (на стабилитроне 3,3В, а головка на 3В). Диод используется для защиты от обратной полярности.

В качестве измерительной головки не обязательно исползовать головку именно на 3В, а можно использовать любую на максимальное напряжение не более 9В. При этом нужно использовать стабилитрон с напряжением стабилизации равным или немного больше максимального напряжения головки. Я использовал головку на 7,5В, стабилитрон КС175 (7,5В). Так как напряжение головки и стабилитрона совпадают, я не использовал R2. Сопротивление R1 — 1200 Ом.
Для того, чтобы производить измерения, нужно разметить шкалу прибора в процентах. Для этого его нужно разобрать. Не подавая на прибор сигнал, подстроить «0» прибора винтом на головке. Это будет 0%. Затем нужно подключить прибор к АКБ. Стрелка отклонится на максимальное положение. Это будет 100%. Затем нужно разбить шкалу на 10 равных участков. Это будут 10%, 20% и тд.
При измерении Л-характеристики следует иметь в виду, что прибор нужно подключать следующим образом. (+) прибора подключается к цепи 30 (ножка 6 диагразъема) или 15 (ножка 5), а (-) к диагностическому сигналу на круглом диагразъеме (ножка 3).
Этим же прибором можно измерять сигнал на регуляторе холостого хода.

KE-Jetronic -Проверка, поиск неисправностей

Проверка системы впрыска «KE-Jetronic» включает в себя проверку гидравлической части (измерение давления и проверка герметичности системы, Герметичность системы рекомендуется проверять только в случаях, когда затруднен пуск горячего двигателя. ) и электрических элементов. Предварительно проводится наружный осмотр.
Перед проверкой герметичности всех соединений топливопроводов необходимо увеличить давление топлива в системе. Для этого на короткое время у снятого управляющего реле, шунтируются выводы «30» и «87» разъема. После снятия воздушного фильтра проверяется подвижность рычага напорного диска расходомера воздуха и плунжера дозатора-распределителя топлива. (автомобили Mercedes-Benz 190 и серия W124 — 200, 230, 260, 300 и др.), с увеличением расхода воздуха напорный диск опускается.Напорный диск расходомера воздуха перемещается вручную вниз. При этом на протяжении всего хода диска должно ощущаться равномерное сопротивление. При быстром подъеме диска (за головку болта или при помощи магнита) не должно ощущаться сопротивления, так как плунжер распределителя, медленно реагирует на перемещение напорного диска и отходит от ролика рычага расходомера воздуха. При медленном подъеме напорного диска плунжер распределителя должен перемещаться одновременно с диском, оставаясь в соприкосновении с роликом рычага расходомера воздуха. При этой проверке контролируются герметичность системы, давление топлива в ней, давление в нижних камерах дифференциальных клапанов (управляющее давление), прекращение подачи топлива при торможении двигателем, обогащение смеси при разгоне, отсутствие посторонних частиц в демпфирующем дросселе дозатора-распределителя, состояние клапана дополнительной подачи воздуха, и пусковой форсунки. Спустя 30 мин после остановки двигателя давление топлива в системе должно быть не менее 2,5 кгс/см2, при меньшем значении следует проверить реле перегрузки. Для проверки давления топлива в системе используется манометр с вентилем, шлангами и соответствующими штуцерами. К вентилю шланги подсоединяются следующим образом: к отверстию шланг, присоединяемый к нижним камерам дифференциальных клапанов после удаления резьбовой пробки и установки переходного штуцера (M8xl/M12xl,5); к отверстию — шланг, присоединяемый к верхнему каналу (к штуцеру трубопровода пусковой форсунки).


ПРОВЕРКА ДАВЛЕНИЯ ТОПЛИВА В СИСТЕМЕ
Двигатель может быть холодным или горячим. При остановленном двигателе замыкаются накоротко выводы «30» и «87» управляющего реле, шланги соедините по первому способу, откройте вентиль при этом давление до и за регулятором управляющего давления выравнивается и достигает величины давления питания системы.Снимаются показания манометра, — давление топлива в системе должно быть 5,3-5,7 кгс/см2 Если давление не соответствует норме, тогда: убедитесь в том, что сливной трубопровод не загрязнен; проверьте подачу топливного насоса, которая должна быть не менее 1 л за 50 с при напряжении на выводах топливного насоса 11,5 В; замените диафрагменный регулятор давления топлива в системе .


ПРОВЕРКА УПРАВЛЯЮЩЕГО ДАВЛЕНИЯ ПРИ ОБОГАЩЕНИИ СМЕСИ ПРИ УСКОРЕНИИ, ХОЛОДНОМ ПУСКЕ И ПРОГРЕВЕ ДВИГАТЕЛЯ
Вентиль закрыт (первый способ подсоединения шлангов). Имитируйте работу холодного двигателя. Для этого отсоедините датчик температуры охлаждающей жидкости и подсоедините между разъемом и «массой» резистор на 2,5 кОм.
Запустите двигатель и нажимая на педаль «газа», доведите частоту вращения коленчатого вала до 2500 об/мин. При этом дифференциальное давление (разность давлений системы и управляющего), которое было не менее 3,2 кгс/см2 должно упасть до 0,3-0,45 кгс/см2

Если величина противодавления (управляющего давления) не соответствует норме, тогда:
— проверяется исправность расходомера воздуха;
— проверяется величина тока питания электрогидравлического регулятора давления;
— проверяется исправность электрического блока управления.


Режимы работы двигателя, Давление, кгc/см2-
В системе, Управляющее (противодавление), Дифференциальное
Прогрев (20«С) 5,3-5,7 4.2-4,5 1,0-1,3
Горячий (n=const) 5,05-5,2 0,3-0,45
Горячий (n<) 5,5 0
Горячий (n>) 5,05-5,2 0,3-0,45


ПРОВЕРКА ОСТАТОЧНОГО ДАВЛЕНИЯ
После остановки двигателя остаточное давление в системе должно упасть ниже давления открытия рабочих форсунок (около 2,8 кгс/см2).
Если давление мгновенно падает до нуля, необходимо заменить обратный клапан топливного насоса.
При медленном снижении давления надо отсоединить трубопровод слива от диафрагменного регулятора давления топлива в системе и убедиться в отсутствии течи топлива.
Пережмите шланг накопителя. При прекращении падения давления замените накопитель топлива.
Проверьте герметичность пусковой форсунки.


ПРОВЕРКА ДОЗАТОРА-РАСПРЕДЕЛИТЕЛЯ
Двигатель должен быть прогрет. От дозатора-распределителя, отсоедините топливопровод, идущий к регулятору давления топлива в системе. Для того, чтобы избежать вытекания топлива трубопровод заглушается. К дозатору — распределителю подсоедините шланг, другой конец которого поместите в мензурку. Замкните выводы „30“ и „87“, тем самым подается напряжение на топливный насос. Спустя 1 мин отключите его. Если объем топлива, вытекшего в мензурку за это время, меньше 130-150 см3 (при напряжении на выводах топливного насоса 11,5 В), необходимо заменить дозатор-распределитель топлива. Если объем вытекающего топлива превышает указанную величину, замените сначала электрогидравлический регулятор управляющего давления. Если и после замены регулятора объем вытекающего топлива по-прежнему выше нормы — неисправен дозатор-распределитель.


ПРОВЕРКА КЛАПАНА ДОПОЛНИТЕЛЬНОЙ ПОДАЧИ ВОЗДУХА
На холодном двигателе отсоедините колодку от клапана добавочного воздуха. Отсоедините один или два верхних шланга. В последнем случае удобно визуально убедиться в том, что воздушное отверстие приоткрыто. На двигателях некоторых моделей данная проверка производится при помощи фонарика и зеркала.
Присоедините колодку к клапану, замкните выводы „30“ и „87“ (см. выше). Включите зажигание. Через 10 мин не более воздушное перепускное отверстие клапана должно быть полностью закрыто заслонкой.

Если это отверстие не открывается на холодном двигателе, замените клапан дополнительной подачи воздуха.

Если воздушное перепускное отверстие не закрывается, проверьте провода и их соединения, а также убедитесь в наличии напряжения питания клапана. При остановленном двигателе это напряжение должно быть не менее 11,5 В.

Если отверстие перепуска воздуха открывается и закрывается нормально, необходимо проверить тестером в режиме омметра цепь нагревательного резистора клапана дополнительной подачи воздуха на обрыв.

ПРОВЕРКА ПУСКОВОЙ ФОРСУНКИ
Снимите пусковую форсунку, не отсоединяя питающий трубопровод. На автомобилях со стальным питающим трубопроводом лучше заменить его на время проверки гибким шлангом. Отсоедините колодку от пусковой форсунки и соедините ее напрямую с „массой“ и выводом „15“ катушки зажигания.
Пусковую форсунку поместите в мензурку, замкните выводы „30“ и „87“ (см. выше). Включите зажигание не более чем на 30 с — топливо должно распыляться с углом конуса примерно 80°.

Выключите зажигание, отсоедините провод (форсунка — катушка зажигания) и вытрите распылитель пусковой форсунки. Вновь включите зажигание, не снимая шунт с выводов „30“ и „87“ (топливный насос включен). В течение 1 мин не допускается подтекания топлива из распылителя пусковой форсунки.

Если пусковая форсунка не открывается или негерметична, замените ее.

ПРОВЕРКА ЭЛЕКТРИЧЕСКИХ ЭЛЕМЕНТОВ СИСТЕМЫ
Необходимо проверить датчик температуры охлаждающей жидкости, обогащение рабочей смеси при/ускорении, прекращение подачи топлива при снижении оборотов двигателя, обогащение смеси при полной нагрузке двигателя и при пуске, а также состояние выключателя положения дроссельной заслонки, реле защиты от перенапряжений и датчик положения напорного диска расходомера воздуха. Кроме того, на некоторых двигателях необходимо проверить исправность регулятора холостого хода.
Прежде, чем приступить к проверке, разъедините штепсельный разъем блока электронного управления, чтобы не вывести его из строя. Перед проверкой убедитесь, что неисправность не связана с элементами, не относящимися к системе впрыска (свечи зажигания, датчик-распределитель, коммутатор и т.д.) и что нет подсоса воздуха во впускном тракте.

ПРОВЕРКА ДАТЧИКА ТЕМПЕРАТУРЫ ОХЛАЖДАЮЩЕЙ ЖИДКОСТИ
Отсоедините разъем от датчика. Проверьте сопротивление датчика с помощью омметра, соединенного с „массой“. Эту операцию следует провести при 2-3 значениях температуры, а результаты сравнить с графиком.Если результаты измерений не соответствуют норме, замените датчик охлаждающей жидкости. Если сопротивление датчика нормально, проверьте ток питания электрогидравлического регулятора давления. Измерьте ток: на прогретом двигателе его величина должна быть около нуля, а при температуре охлаждающей жидкости 20°С — 11-15 мА. Если результаты измерений не соответствуют норме, посмотрите провода и их соединения. Если провода не повреждены, проверьте внутреннее сопротивление электрогидравлического регулятора управляющего давления, оно должно быть 19,5+1,5 Ом. Если внутреннее сопротивление регулятора не соответствует норме, замените регулятор. Проверьте провода идущие от датчика температуры охлаждающей жидкости и регулятора управляющего давления к блоку электронного управления. При исправных проводах, датчике и регуляторе необходимо заменить блок электронного управления.
ПРОВЕРКА ОБОГАЩЕНИЯ СМЕСИ ПРИ УСКОРЕНИИ
Отсоедините разъем от датчика (потенциометра) положения напорного диска расходомера воздуха. Проверьте сопротивление между выводами „14“ и „18“, датчика. При исходном положении напорного диска, это сопротивление должно быть 4,0 кОм+800 Ом.
Проверьте сопротивление между выводами „14“ и „17“ датчика, которое должно быть 700±40 Ом при нулевом положении напорного диска и 4,0 кОм+800 Ом при его отклонении.

Если результаты измерений не соответствуют норме, замените или отрегулируйте датчик положения напорного диска расходомера воздуха.

Присоедините провода для замера тока питания электрогидравлического регулятора управляющего давления. Переключите тестер в режим амперметра (шкала мА). Отсоедините разъем от датчика температуры охлаждающей жидкости и подключите резистор на 2,5 кОм между разъемом и „массой“ для имитации температуры охлаждающей жидкости 20°С. Отсоедините разъем от микровыключателя ПХХ. Включите зажигание.

Измерьте ток расходомера воздуха от „+“ и „-“, который должен быть 11-15 мА. Резко переместите напорный диск расходомера воздуха, ток должен возрасти. Если этого не происходит, проверьте провода и их соединения.

Если провода не повреждены, отсоедините разъем от электрогидравлического регулятора управляющего давления и проверьте его внутреннее сопротивление, которое должно быть 19,5±1,5 Ом.


При отклонении сопротивления от нормы замените регулятор, но предварительно проверьте напряжение подводимое к разъему, подключив вольтметр к штекеру „18“, и „массе“. Напряжение должно быть 8+0,6 В.

При отклонении напряжения от нормы проверьте провода и их соединения, идущие от выводов „14“, „17“ и „18“ к соответствующим выводам электронного блока управления,

Проверьте, нет ли обрыва в проводах соединяющих регулятор управляющего давления с электронным блоком, выводы „10“ и „12“.

Если провода не повреждены, замените блок управления.

ПРОВЕРКА ОБОГАЩЕНИЯ СМЕСИ ПРИ ПОЛНОЙ НАГРУЗКЕ ДВИГАТЕЛЯ
Если выключатель положения дроссельной заслонки представляет собой концевой выключатель, при этом на холостом ходу (заслонка закрыта) контакты выключателя разомкнуты, а при полной нагрузке (заслонка открыта) — замкнуты. Проверьте исправность выключателя.
Подсоедините провода с амперметром к регулятору управляющего давления. Зашунтируйте в разъеме концевого выключателя дроссельной заслонки, посредством которого он соединяется с блоком, штекеры „5“ и „13“. Нажимая на рычаг с прорезью, доведите частоту вращения коленчатого вала примерно до 2500 об/мин. При этом сила тока должна быть 5-7 мА. Если она отклоняется от нормы, на работающем двигателе проверьте поступление сигнала „начала отсчета“ (TD) на штекер „25“ блока управления. Напряжение сигнала должно быть около 8,5В. При отсутствии напряжения проверьте провода соединяющие блок управления с регулятором управляющего давления. Если провода не повреждены, замените блок управления.

ПРОВЕРКА ОБОГАЩЕНИЯ СМЕСИ ПРИ ПУСКЕ ДВИГАТЕЛЯ
Подключите к регулятору управляющего давления амперметр. Включите зажигание. На прогретом двигателе величина тока должна быть около нуля. Если это не так, проверьте состояние датчика температуры охлаждающей жидкости.
Разъедините разъем коммутатора системы зажигания. Отсоедините разъем от датчика температуры охлаждающей жидкости и подключите резистор на 2,5 кОм между разъемом и „массой“ (имитация температуры охлаждающей жидкости 20°С).

Включите стартер примерно на 3 с, после чего оставьте зажигание включенным. При этом ток должен возрасти до 20-28,5 мА и оставаться неизменным в течение примерно 4 с после окончания работы стартера. Спустя примерно 20 с величина тока должна снизиться до его значения при прогреве двигателя (11-15 мА). Если результат измерения не соответствует норме, проверьте поступление сигнала пуска двигателя на вывод „50“ управляющего реле. Напряжение между выводом „50“ и „массой“ должно быть около 10В. При отсутствии напряжения пуска проверьте, состояние проводов, соединяющих стартер и реле управления, реле управления и топливный насос, реле управления и блок управления.

При наличии напряжения пуска проверьте, нет ли обрыва проводов соединяющих электронный блок управления и регулятор управляющего давления. Если провода не повреждены, замените блок управления.


ПРОВЕРКА РЕЛЕ ПЕРЕГРУЗКИ
Включите зажигание. Проверьте напряжение между штекером „1“ и „массой“, которое должно быть примерно равным напряжению аккумуляторной батареи. Если напряжения нет, проверьте исправность предохранителя реле перегрузки.
Если после замены предохранителя при включении зажигания он вновь перегорел, проверьте напряжение на выводе „30“ реле перегрузки. При нормальном предохранителе зашунтируйте выводы „30“ и „87“, на штекере „1“ блока управления должно быть напряжение, равное напряжению аккумуляторной батареи.
Если оно отличается от напряжения аккумуляторной батареи, проверьте напряжение на выводе „30“ реле перегрузки.
Если напряжение питания электронного блока управления нормальное, проверьте напряжение между выводами „15“ и „31“ разъема реле перегрузки, которое должно быть равно напряжению аккумуляторной батареи.
При наличии данного напряжения замените реле перегрузки, предварительно проверив все провода и соединения.
Если напряжение на выводе „30“ реле перегрузки равно напряжению аккумуляторной батареи и нет обрыва в проводе, соединяющем вывод „87“ реле и вывод „1“ блока управления, необходима замена блока управления.


ПРОВЕРКА РЕГУЛЯТОРА ХОЛОСТОГО ХОДА
Регулятор проверяется при подводе к нему напряжения 12 В при отсоединении разъема. Заслонка регулятора при подводе напряжения открывается, при снятии — возвращается в исходное положение при помощи пружины. Перемещение заслонки легко определяется по звуку. Если регулятор „работает“ бесшумно, необходима его замена.
Возможные неисправности системы впрыска „KE-Jelronic“
1.Холодный двигатель не запускается или запускается с трудом, глохнет :1, 2, 3, 5, 6, 7, 11))
2.Двигатель работает неустойчиво при прогреве 3, 6, 11))
3.Двигатель плохо набирает обороты при прогреве 1,2,3,11,13))
4.Горячий двигатель не запускается или запускается с трудом 1 2 3 5 6 ))
5.Горячий двигатель работает неустойчиво на холостом ходу 3 4 12 ))
6.Горячий двигатель не обладает достаточной приемистостью 1 2 9 10 11 ))
7.Двигатель не развивает полной мощности 1 2 3 9 10 12 ))
8.Низкая эффективность торможения двигателем 1 8 10 ))
9.Повышенный расход топлива 1 2 3 6 12

РАСШИФРОВКА:
1. Давление в нижних камерах дозатора-распределителя не соответствует норме
2. Давление топлива в системе не соответствует норме
3. Нарушена герметичность системы питания
4. Неравномерная подача топлива форсунками впрыска, (сравнить подачу топлива разными форсунками)
5. Неправильная установка напорного диска дозатора-распределителя в исходном положении
6. Неисправен датчик температуры охлаждающей жидкости, проверить сопротивление датчика
7. Недостаточное обогащение смеси после пуска двигателя
8. Неисправен микропереключатель принудительного холостого хода (ПХХ)
9. Неисправен выключатель дроссельной заслонки
10. Не поступает сигнал начала отсчета TD (oberer Totpunkt — ВМТ) системы зажигания
11. Неисправно реле защиты от перегрузки
12. Нарушена регулировка холостого хода двигателя
13. Неисправен датчик положения напорного диска дозатора-распределителя

13:38
619
Нет комментариев. Ваш будет первым!